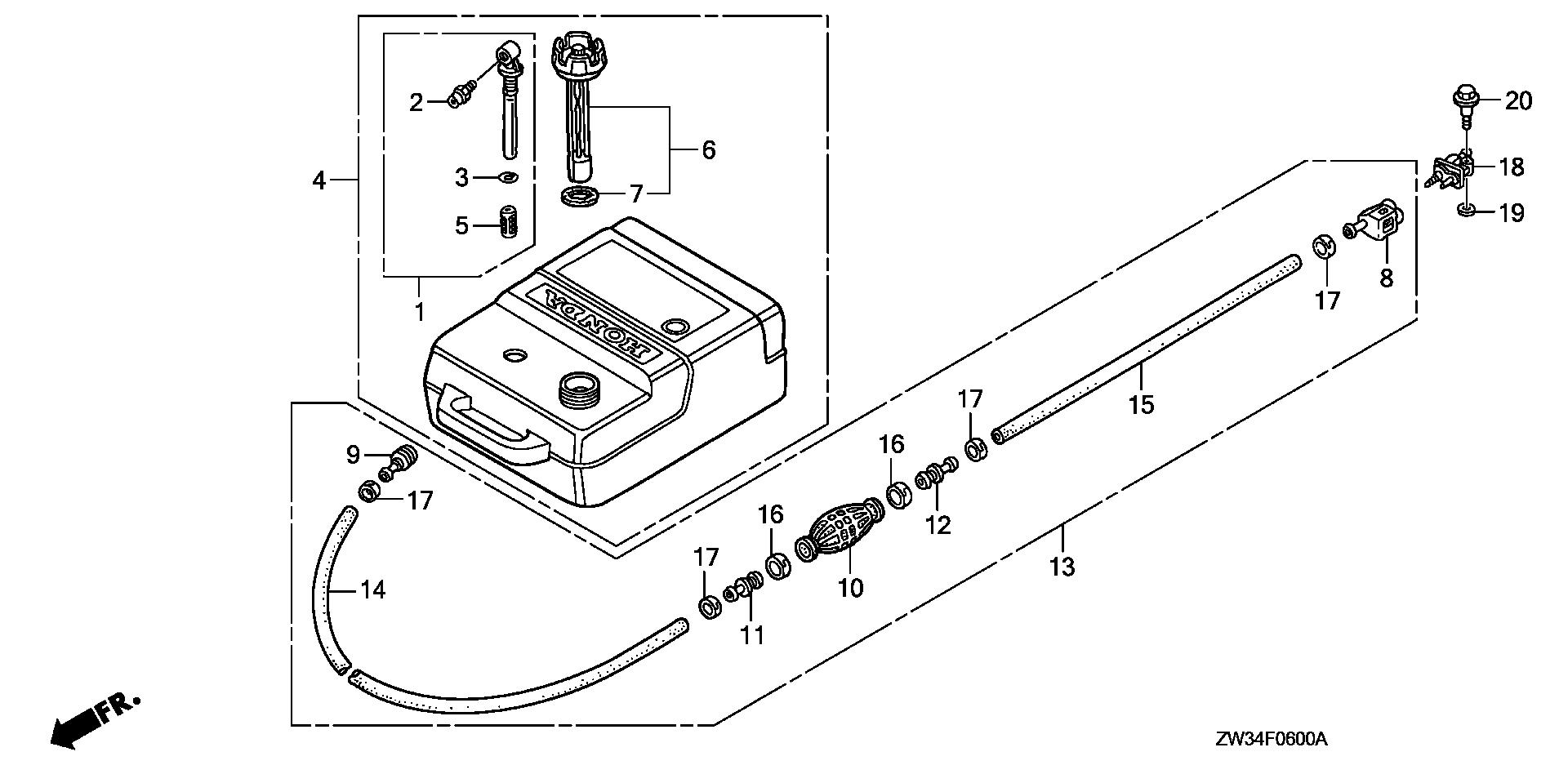
Mid - Large Outboard Engines (25 - 250hp) BF BF40 BF40A4 LRTA BAYS-3400001-3499999 FUEL TANK - Plano Power Equipment

Ref No
Part Number
Description
Serial Range
Qty
Price

Ref No
8
Part Number
17650-ZW9-023
Description
CONNECTOR ASSY., FUEL (A)
Serial Range
1000001 - 9999999
Qty
Price
$53.04

Ref No
9
Part Number
17660-ZW9-003
Description
CONNECTOR, FUEL
Serial Range
1000001 - 9999999
Qty
Price
$49.22

Ref No
10
Part Number
17661-921-010
Description
BULB, PRIMER
Serial Range
1000001 - 9999999
Qty
Price
$19.87

Ref No
11
Part Number
17665-ZV5-000
Description
VALVE, IN.
Serial Range
1000001 - 9999999
Qty
Price
$18.56

Ref No
12
Part Number
17680-ZV4-000
Description
VALVE, OUTLET
Serial Range
1000001 - 9999999
Qty
Price
$18.56

Ref No
13
Part Number
17700-ZW9-030
Description
TUBE ASSY., FUEL
Serial Range
1000001 - 9999999
Qty
Price
$100.44

Ref No
14
Part Number
17701-ZV5-000
Description
TUBE, FUEL LONG (7.3X2000)
Serial Range
1000001 - 9999999
Qty
Price
$70.50

Ref No
15
Part Number
17702-ZV4-000
Description
TUBE, FUEL SHORT (6.3X500)
Serial Range
1000001 - 9999999

Ref No
16
Part Number
17703-921-010
Description
BAND, TUBE CLIP (20MM)
Serial Range
1000001 - 9999999
Qty
Price
$5.41

Ref No
17
Part Number
17704-ZV4-010
Description
BAND, TUBE CLIP (12.5MM)
Serial Range
1000001 - 9999999
Qty
Price
$3.34

Ref No
18
Part Number
17710-ZW9-033
Description
CONNECTOR ASSY., FUEL (B)
Serial Range
1000001 - 9999999
Qty
Price
$70.47

Ref No
19
Part Number
17936-921-000
Description
WASHER, PIVOT
Serial Range
1000001 - 9999999
Qty
Price
$1.84

Ref No
20
Part Number
90112-ZY1-000
Description
BOLT, SPECIAL (6X22) (CT200)
Serial Range
1000001 - 9999999
Qty
Price
$4.72