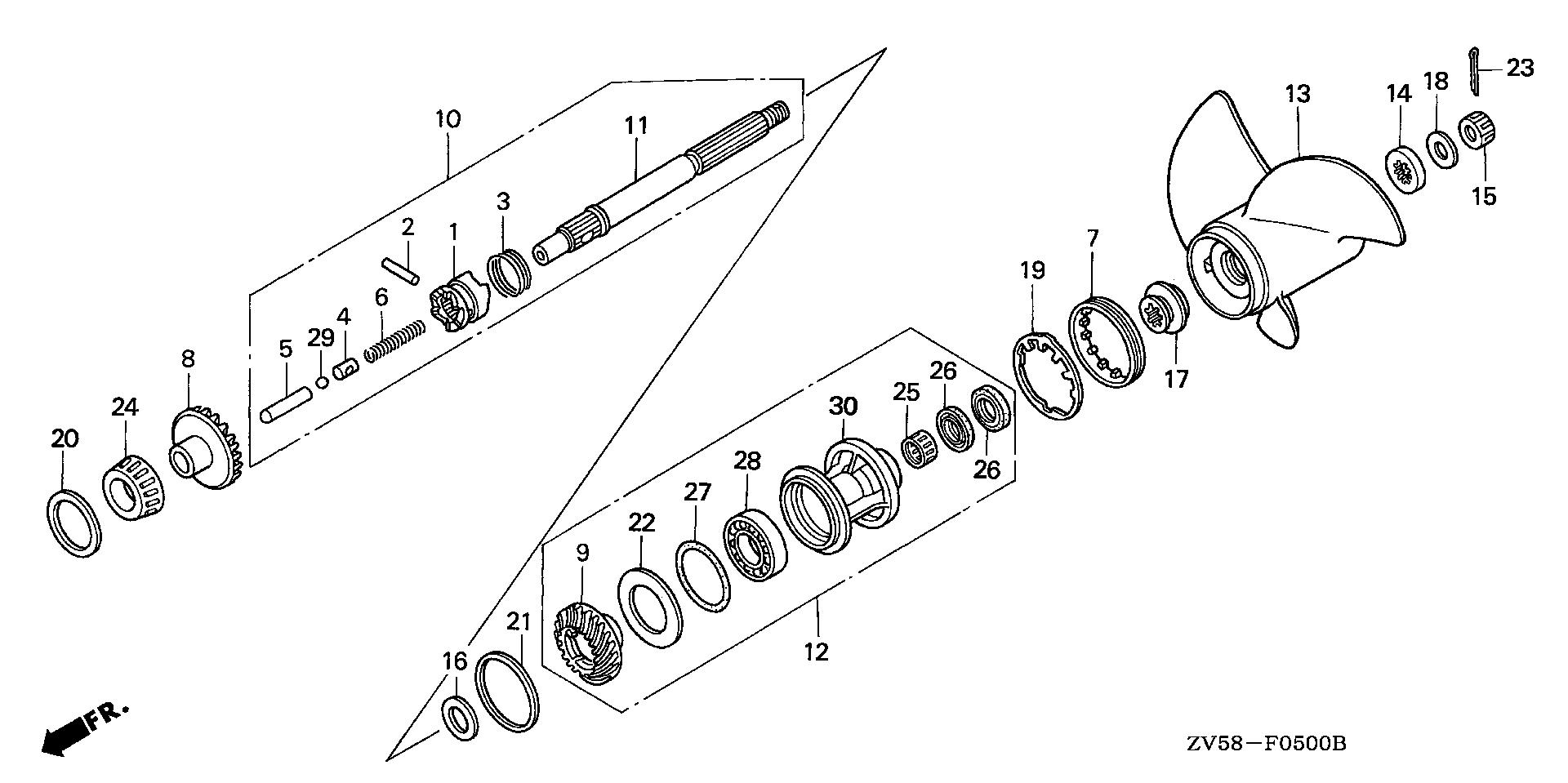
Ref No
Part Number
Description
Serial Range
Qty
Price
Ref No 1
Part Number 24101-ZV5-000
Description SHIFTER, CLUTCH (NOT AVAILABLE)
Serial Range 1000001 - 9999999
Ref No 2
Part Number 24102-ZV5-000
Description PIN, SHIFTER (6.3X33)
Serial Range 1000001 - 9999999
Qty
Price $4.69
Add To Cart
Ref No 3
Part Number 24103-ZV5-000
Description RING, CROSS PIN
Serial Range 1000001 - 9999999
Qty
Price $2.71
Add To Cart
Ref No 4
Part Number 24106-ZV5-000
Description HOLDER, SHIFTER PIN
Serial Range 1000001 - 9999999
Qty
Price $12.65
Add To Cart
Ref No 5
Part Number 24122-ZV5-000
Description SLIDER, SHIFT
Serial Range 1000001 - 9999999
Qty
Price $16.74
Add To Cart
Ref No 6
Part Number 24123-ZV5-003
Description SPRING, SHIFT
Serial Range 1000001 - 9999999
Qty
Price $6.67
Add To Cart
Ref No 7
Part Number 41109-ZV5-000
Description NUT, GEAR CASE END
Serial Range 1000001 - 9999999
Qty
Price $25.32
Add To Cart
Ref No 8
Part Number 41145-ZV5-000
Description GEAR, FR. BEVEL
Serial Range 1000001 - 9999999
Ref No 9
Part Number 41151-ZV5-010
Description GEAR, RR. BEVEL
Serial Range 1000001 - 9999999
Qty
Price $210.36
Add To Cart
Ref No 10
Part Number 06410-ZW4-305
Description SHAFT ASSY., PROPELLER
Serial Range 1000001 - 9999999
Ref No 11
Part Number 41161-ZV5-010
Description SHAFT, PROPELLER
Serial Range 1000001 - 9999999
Ref No 12
Part Number 41200-ZV5-030
Description HOLDER ASSY., PROPELLER SHAFT
Serial Range 3221482 - 9999999
Qty
Price $278.50
Add To Cart
Ref No 13
Part Number 58130-ZV5-000ZA
Description PROPELLER, THREE-BLADE (11-1/4X13) *NH283* (STIN GRAY)
Serial Range 1000001 - 9999999
Qty
Price $190.66
Add To Cart
Ref No 13
Part Number 58130-ZV5-850ZA
Description PROPELLER, THREE-BLADE (11-1/2X12) *NH283* (STIN GRAY)
Serial Range 1000001 - 9999999
Qty
Price $203.00
Add To Cart
Ref No 13
Part Number 58130-ZV5-860ZA
Description PROPELLER, THREE-BLADE (11-3/4X10) *NH283* (STIN GRAY)
Serial Range 1000001 - 9999999
Qty
Price $203.00
Add To Cart
Ref No 13
Part Number 58130-ZV5-870ZA
Description PROPELLER, THREE-BLADE (11-1/2X14-1/4) *NH283* (STIN GRAY)
Serial Range 1000001 - 9999999
Qty
Price $203.00
Add To Cart
Ref No 14
Part Number 58151-ZV5-000
Description SPACER (10MM)
Serial Range 1000001 - 9999999
Qty
Price $41.58
Add To Cart
Ref No 15
Part Number 90301-ZV5-000
Description NUT, CASTLE (16MM)
Serial Range 1000001 - 9999999
Qty
Price $19.00
Add To Cart
Ref No 16
Part Number 90503-ZV5-000
Description WASHER (22MM)
Serial Range 1000001 - 9999999
Qty
Price $9.20
Add To Cart
Ref No 17
Part Number 90506-ZZ5-C00
Description WASHER, PROPELLER THRUST
Serial Range 1000001 - 9999999
Qty
Price $56.64
Add To Cart
Ref No 18
Part Number 90508-ZV5-000
Description WASHER (17MM)
Serial Range 1000001 - 9999999
Qty
Price $6.97
Add To Cart
Ref No 19
Part Number 90509-ZV5-000
Description WASHER, CLAW
Serial Range 1000001 - 9999999
Qty
Price $12.35
Add To Cart
Ref No 20
Part Number 90528-ZV5-000
Description SHIM, FR. BEVEL (51X57X0.10) (A)
Serial Range 1000001 - 9999999
Qty
Price $12.05
Add To Cart
Ref No 20
Part Number 90529-ZV5-000
Description SHIM, FR. BEVEL (51X57X0.15) (B)
Serial Range 1000001 - 9999999
Qty
Price $12.05
Add To Cart
Ref No 20
Part Number 90530-ZV5-000
Description SHIM, FR. BEVEL (51X57X0.30) (C)
Serial Range 1000001 - 9999999
Qty
Price $12.05
Add To Cart
Ref No 20
Part Number 90531-ZV5-000
Description SHIM, FR. BEVEL (51X57X0.50) (D)
Serial Range 1000001 - 9999999
Qty
Price $12.05
Add To Cart
Ref No 22
Part Number 90548-ZV5-010
Description WASHER, PLAIN (54MM)
Serial Range 3222623 - 9999999
Qty
Price $15.96
Add To Cart
Ref No 23
Part Number 90758-ZV5-000
Description PIN, SPLIT (4.0)
Serial Range 1000001 - 9999999
Qty
Price $3.45
Add To Cart
Ref No 24
Part Number 91051-ZV5-003
Description BEARING (32X58X17)
Serial Range 1000001 - 9999999
Qty
Price $56.95
Add To Cart
Ref No 25
Part Number 91053-ZV5-003
Description BEARING, NEEDLE (22X28X20)
Serial Range 1000001 - 9999999
Qty
Price $20.47
Add To Cart
Ref No 26
Part Number 91252-ZV5-003
Description SEAL, WATER (22X35X7)
Serial Range 1000001 - 9999999
Qty
Price $13.06
Add To Cart
Ref No 27
Part Number 91351-ZV5-003
Description O-RING (66X5.7)
Serial Range 1000001 - 9999999
Qty
Price $7.04
Add To Cart
Ref No 28
Part Number 96100-60070-00
Description BEARING, RADIAL BALL (6007)
Serial Range 1000001 - 9999999
Qty
Price $30.04
Add To Cart
Ref No 29
Part Number 96211-11000
Description BALL, STEEL (#11) (11/32)
Serial Range 1000001 - 9999999
Qty
Price $1.61
Add To Cart
Ref No 30
Part Number 41201-ZV5-000
Description HOLDER, PROPELLER SHAFT
Serial Range 1000001 - 9999999
Qty
Price $97.93
Add To Cart