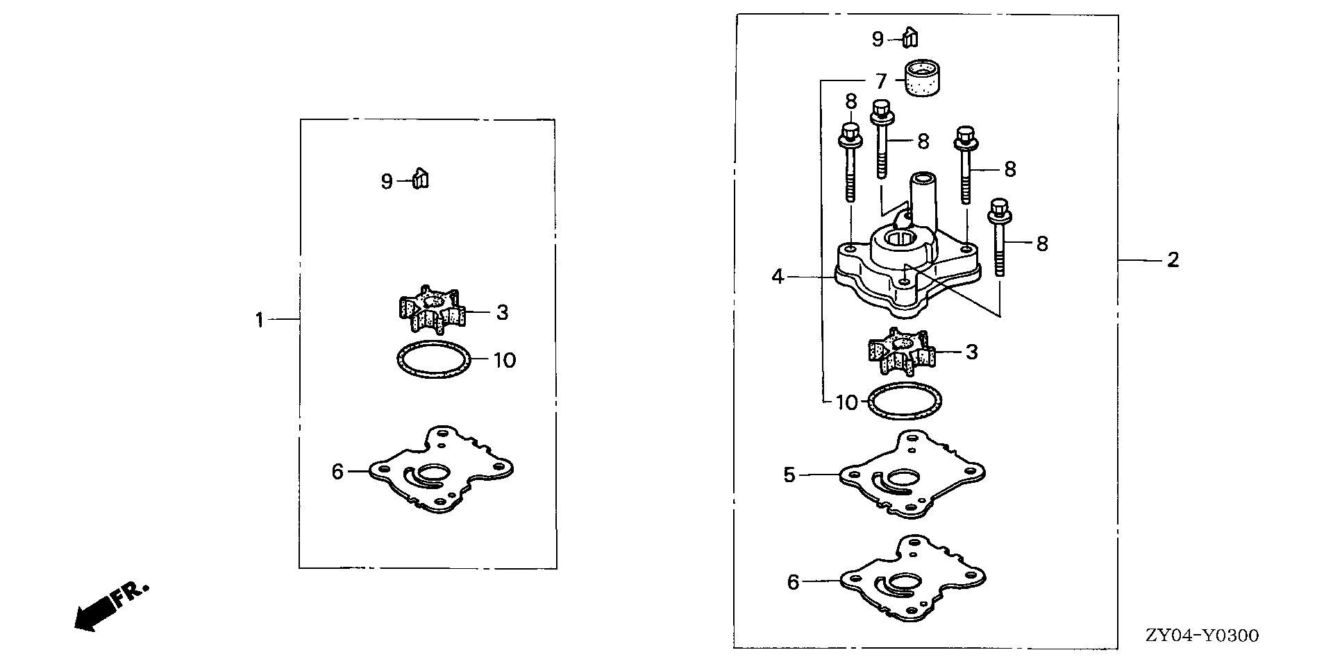
Portable Outboard Engines (2 - 20 hp) BF BF15 BF15D4 LRTA BALJ-1100001-1199999 WATER PUMP IMPELLER KIT - Plano Power Equipment

Ref No
Part Number
Description
Serial Range
Qty
Price

Ref No
1
Part Number
06192-ZW9-A30
Description
PUMP KIT, IMPELLER
Serial Range
1000001 - 9999999

Ref No
2
Part Number
06193-ZY1-010
Description
PUMP KIT, IMPELLER
Serial Range
1000001 - 9999999

Ref No
3
Part Number
19210-ZW9-A32
Description
IMPELLER, PUMP (UL)
Serial Range
1000001 - 9999999
Qty
Price
$24.01

Ref No
4
Part Number
19215-ZW9-010
Description
HOUSING ASSY., IMPELLER
Serial Range
1000001 - 9999999

Ref No
4
Part Number
19215-ZW9-020
Description
HOUSING ASSY., IMPELLER
Serial Range
1000001 - 9999999
Qty
Price
$74.27

Ref No
5
Part Number
19231-ZW9-000
Description
COVER, IMPELLER
Serial Range
1000001 - 9999999
Qty
Price
$12.95

Ref No
6
Part Number
19232-ZW9-000
Description
GASKET, IMPELLER
Serial Range
1000001 - 9999999
Qty
Price
$3.29

Ref No
7
Part Number
19253-ZW9-000
Description
RING, WATER TUBE SEAL
Serial Range
1000001 - 9999999
Qty
Price
$5.84

Ref No
8
Part Number
90121-ZW9-000
Description
BOLT-WASHER (6X50)
Serial Range
1000001 - 9999999
Qty
Price
$4.67

Ref No
9
Part Number
90752-ZW9-A30
Description
KEY, WOODRUFF
Serial Range
1000001 - 9999999
Qty
Price
$3.50

Ref No
10
Part Number
91301-ZG3-000
Description
O-RING (42.2X2.4)
Serial Range
1000001 - 9999999
Qty
Price
$3.45