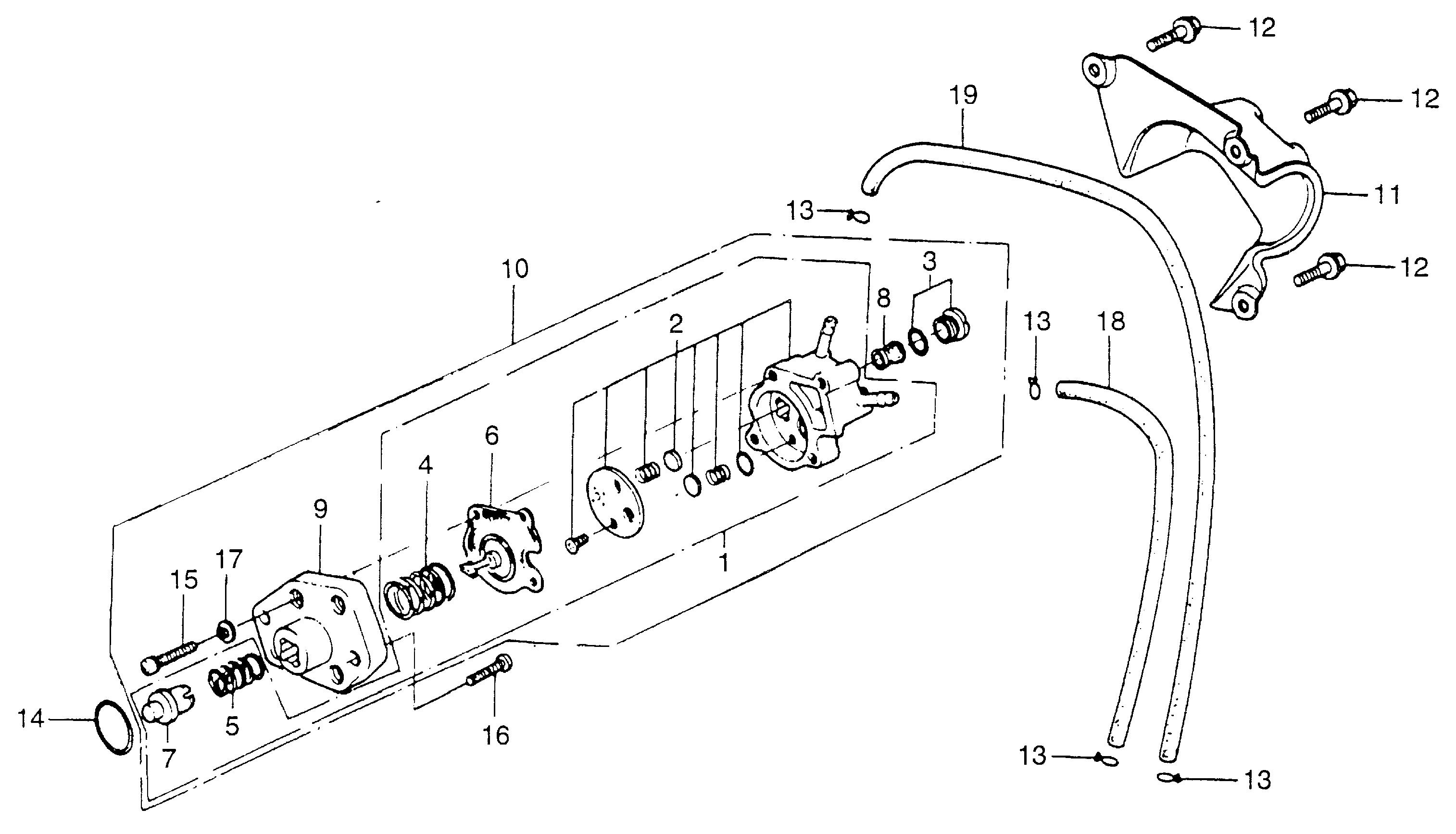
Portable Outboard Engines (2 - 20 hp) BF BF75 BF75 SA BF75-1000002-1013304 FUEL PUMP@FUEL PUMP COVER - Plano Power Equipment

Ref No
Part Number
Description
Serial Range
Qty
Price

Ref No
1
Part Number
16010-935-308
Description
PARTS SET, FUEL PUMP (NOT AVAILABLE)
Serial Range
1000001 - 1003549

Ref No
2
Part Number
16015-935-014
Description
BODY SET, PUMP (NOT AVAILABLE)
Serial Range
1003550 - 9999999

Ref No
3
Part Number
16016-935-004
Description
BOLT SET, HOLDING
Serial Range
1000001 - 9999999
Qty
Price
$26.96

Ref No
4
Part Number
16050-935-014
Description
SPRING, DIAPHRAGM (NOT AVAILABLE)
Serial Range
1000001 - 9999999

Ref No
5
Part Number
16051-935-014
Description
SPRING, PUSH ROD (NOT AVAILABLE)
Serial Range
1000001 - 9999999

Ref No
6
Part Number
16181-935-014
Description
DIAPHRAGM (NOT AVAILABLE)
Serial Range
1000001 - 9999999

Ref No
7
Part Number
16182-935-014
Description
ROD, PUSH
Serial Range
1000001 - 9999999

Ref No
8
Part Number
16194-935-004
Description
SCREEN, FUEL STRAINER
Serial Range
1000001 - 9999999
Qty
Price
$10.56

Ref No
9
Part Number
16195-935-004
Description
BODY (LOWER) (N/A: SEE ASSEMBLY)
Serial Range
1000001 - 9999999

Ref No
10
Part Number
16700-935-325
Description
PUMP ASSY., FUEL (NOT AVAILABLE)
Serial Range
1000001 - 9999999

Ref No
11
Part Number
16722-881-000
Description
COVER, FUEL PUMP (NOT AVAILABLE)
Serial Range
1000001 - 9999999

Ref No
12
Part Number
90123-881-000
Description
BOLT, FLANGE (6X28)
Serial Range
1000001 - 9999999

Ref No
13
Part Number
90602-921-000
Description
CLIP, TUBE (B8)
Serial Range
1000001 - 9999999
Qty
Price
$2.12

Ref No
14
Part Number
91351-MG7-003
Description
O-RING (20.8X2.4)
Serial Range
1000001 - 9999999

Ref No
15
Part Number
93500-04020-0H
Description
SCREW, PAN (4X20)
Serial Range
1000001 - 9999999
Qty
Price
$1.40

Ref No
16
Part Number
93500-06020-0H
Description
SCREW, PAN (6X20)
Serial Range
1000001 - 9999999
Qty
Price
$1.38

Ref No
17
Part Number
94111-04800
Description
WASHER, SPRING (4MM)
Serial Range
1000001 - 9999999
Qty
Price
$1.38

Ref No
18
Part Number
95001-45003-60M
Description
BULK HOSE, FUEL (4.5X3000) (4.5X320)
Serial Range
1000001 - 9999999
Qty
Price
$51.76

Ref No
18
Part Number
95001-45003-60M
Description
BULK HOSE, FUEL (4.5X3000) (4.5X400)
Serial Range
1000001 - 9999999
Qty
Price
$51.76

Ref No
19
Part Number
95001-45003-60M
Description
BULK HOSE, FUEL (4.5X3000) (4.5X320)
Serial Range
1000001 - 9999999
Qty
Price
$51.76

Ref No
19
Part Number
95001-45003-60M
Description
BULK HOSE, FUEL (4.5X3000) (4.5X400)
Serial Range
1000001 - 9999999
Qty
Price
$51.76