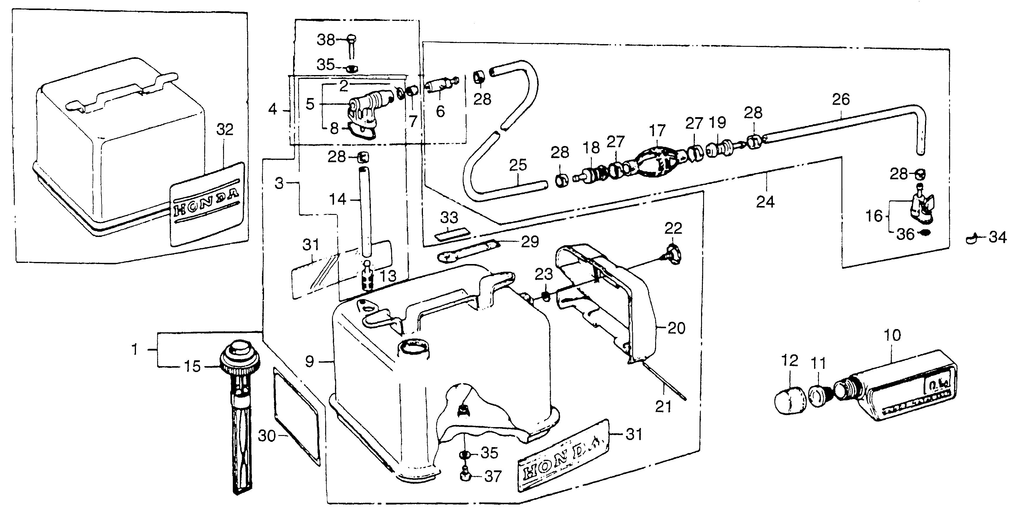
Portable Outboard Engines (2 - 20 hp) BF BF75 BF75 SA BF75-1000002-1013304 FUEL TANK@SUB TANK - Plano Power Equipment

Ref No
Part Number
Description
Serial Range
Qty
Price

Ref No
1
Part Number
061C7-881-711H
Description
TANK KIT, FUEL *R8* (BRIGHT RED)
Serial Range
1000001 - 9999999
Qty
Price
$419.32

Ref No
2
Part Number
16075-935-006
Description
O-RING
Serial Range
1000001 - 9999999

Ref No
3
Part Number
16900-881-010
Description
JOINT A, FUEL (NOT AVAILABLE)
Serial Range
1000001 - 9999999

Ref No
4
Part Number
16950-935-016
Description
JOINT, FUEL CONSENT (NOT AVAILABLE)
Serial Range
1000001 - 9999999

Ref No
5
Part Number
16951-935-006
Description
JOINT A, FUEL CONSENT (NOT AVAILABLE)
Serial Range
1000001 - 9999999

Ref No
6
Part Number
16952-935-016
Description
JOINT B, FUEL CONSENT
Serial Range
1000001 - 9999999

Ref No
7
Part Number
16953-935-000
Description
ABSORBER, FUEL
Serial Range
1000001 - 9999999

Ref No
8
Part Number
16962-865-010
Description
RING, PETCOCK SEAL
Serial Range
1000001 - 9999999

Ref No
9
Part Number
17500-881-000H
Description
TANK, FUEL *R8* (BRIGHT RED) (NOT AVAILABLE)
Serial Range
1000001 - 9999999

Ref No
10
Part Number
17570-921-000
Description
TANK, OIL
Serial Range
1000001 - 9999999

Ref No
11
Part Number
17572-801-810
Description
CAP, SUB-TANK (INNER) (NOT AVAILABLE)
Serial Range
1000001 - 9999999

Ref No
12
Part Number
17573-801-810
Description
CAP, SUB-TANK (NOT AVAILABLE)
Serial Range
1000001 - 9999999

Ref No
13
Part Number
17583-881-000
Description
FILTER, FUEL
Serial Range
1000001 - 9999999

Ref No
14
Part Number
17611-935-000
Description
TUBE (INNER)
Serial Range
1000001 - 9999999

Ref No
15
Part Number
17620-921-153
Description
CAP, FUEL FILLER (NOT AVAILABLE)
Serial Range
1000001 - 9999999

Ref No
16
Part Number
17650-921-003ZB
Description
CONNECTOR, FUEL *NH1* (BLACK)
Serial Range
1000001 - 9999999
Qty
Price
$57.41

Ref No
17
Part Number
17661-921-010
Description
BULB, PRIMER
Serial Range
1000001 - 9999999
Qty
Price
$19.87

Ref No
18
Part Number
17670-921-000
Description
VALVE, IN.
Serial Range
1000001 - 9999999

Ref No
19
Part Number
17680-921-000
Description
VALVE, OUTLET
Serial Range
1000001 - 9999999
Qty
Price
$13.78

Ref No
20
Part Number
17696-921-010
Description
BOX, TOOL (NOT AVAILABLE)
Serial Range
1000001 - 9999999

Ref No
21
Part Number
17697-921-000
Description
BAR (3X150) (NOT AVAILABLE)
Serial Range
1000001 - 9999999

Ref No
22
Part Number
17698-921-000
Description
LATCH, TOOL BOX (NOT AVAILABLE)
Serial Range
1000001 - 9999999

Ref No
23
Part Number
17699-921-000
Description
STOPPER, LATCH (NOT AVAILABLE)
Serial Range
1000001 - 9999999

Ref No
24
Part Number
17700-935-000B
Description
TUBE, FUEL *B9* (ATLANTIS BLUE) (NOT AVAILABLE)
Serial Range
1000001 - 9999999

Ref No
25
Part Number
17701-921-000
Description
TUBE, FUEL LONG (NOT AVAILABLE)
Serial Range
1000001 - 9999999

Ref No
26
Part Number
17702-921-000
Description
TUBE, FUEL SHORT
Serial Range
1000001 - 9999999

Ref No
27
Part Number
17703-921-010
Description
BAND, TUBE CLIP (20MM)
Serial Range
1000001 - 9999999
Qty
Price
$5.41

Ref No
28
Part Number
17704-921-000
Description
BAND, TUBE CLIP (11MM)
Serial Range
1000001 - 9999999

Ref No
29
Part Number
87571-881-671
Description
MARK, TANK CAUTION (ENGLISH/FRENCH)
Serial Range
1010105 - 9999999
Qty
Price
$6.14

Ref No
29
Part Number
87571-921-600
Description
MARK, TANK CAUTION (NOT AVAILABLE)
Serial Range
1000001 - 9999999

Ref No
30
Part Number
87572-935-610
Description
LABEL B, TANK CAUTION (NOT AVAILABLE)
Serial Range
1000001 - 1010104

Ref No
31
Part Number
87573-881-000
Description
MARK, TANK
Serial Range
1010105 - 9999999
Qty
Price
$14.90

Ref No
33
Part Number
87573-935-600
Description
LABEL, FUEL CAUTION (NOT AVAILABLE)
Serial Range
1000001 - 9999999

Ref No
34
Part Number
87575-921-610
Description
MARK, FUEL CONNECTOR (NOT AVAILABLE)
Serial Range
1000001 - 9999999

Ref No
35
Part Number
90445-700-000
Description
GASKET, FIBER (6MM)
Serial Range
1000001 - 9999999

Ref No
36
Part Number
91353-921-310
Description
O-RING (5.5MM)
Serial Range
1000001 - 9999999
Qty
Price
$2.62

Ref No
37
Part Number
92101-06012-4J
Description
BOLT, HEX. (6X12)
Serial Range
1000001 - 9999999
Qty
Price
$2.88

Ref No
38
Part Number
92101-06016-0B
Description
BOLT, HEX. (6X16)
Serial Range
1000001 - 9999999
Qty
Price
$1.82