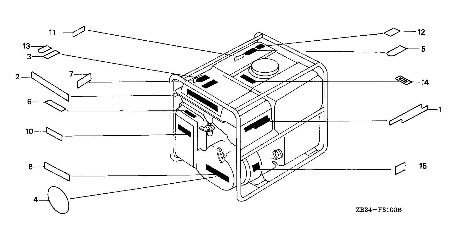
Generators EM EM1800 EM1800XK1 A/B EZCK-1011299-1039999 LABELS - Plano Power Equipment

Ref No
Part Number
Description
Serial Range
Qty
Price

Ref No
1
Part Number
87101-ZB2-C30
Description
EMBLEM (EM1800)
Serial Range
1000001 - 9999999

Ref No
1
Part Number
87101-ZB2-C31
Description
EMBLEM (EM1800)
Serial Range
1028974 - 9999999
Qty
Price
$6.72

Ref No
2
Part Number
87150-ZB2-C30
Description
PLATE, CAUTION
Serial Range
1000001 - 9999999

Ref No
3
Part Number
87168-ZC3-630
Description
LABEL, RAIN WARNING (ENGLISH)
Serial Range
2738452 - 9999999
Qty
Price
$6.00

Ref No
5
Part Number
87522-883-660
Description
MARK, CAUTION (ENGLISH/FRENCH/SPANISH)
Serial Range
1009733 - 9999999
Qty
Price
$5.59

Ref No
6
Part Number
87528-ZB2-630
Description
MARK, CHOKE
Serial Range
1000001 - 9999999
Qty
Price
$2.09

Ref No
10
Part Number
87533-ZC0-630
Description
MARK, AIR CLEANER (ENGLISH)
Serial Range
1000001 - 9999999
Qty
Price
$4.55

Ref No
11
Part Number
87539-ZB2-630
Description
MARK, EX. CAUTION
Serial Range
1000001 - 9999999
Qty
Price
$5.11

Ref No
12
Part Number
87561-880-600
Description
MARK, CAUTION (ENGLISH/FRENCH/SPANISH)
Serial Range
1000001 - 9999999
Qty
Price
$6.21

Ref No
13
Part Number
87563-ZB4-631
Description
LABEL, CONNECT WARNING (ENGLISH)
Serial Range
1000001 - 9999999
Qty
Price
$7.61

Ref No
14
Part Number
87565-ZB4-A00
Description
PLATE, FUEL INDICATION
Serial Range
1000001 - 9999999
Qty
Price
$7.15

Ref No
15
Part Number
87594-ZB3-C00
Description
MARK, OIL CAUTION
Serial Range
1000001 - 9999999
Qty
Price
$5.52