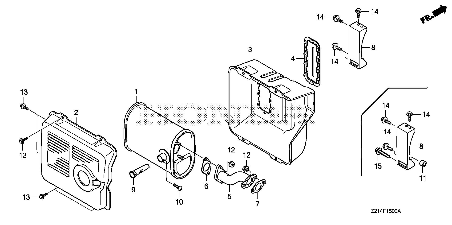
Generators EM EM3800 EM3800SX AC EAMC-1000001-9999999 MUFFLER (1) - Plano Power Equipment

Ref No
Part Number
Description
Serial Range
Qty
Price

Ref No
1
Part Number
18310-Z21-E31
Description
MUFFLER
Serial Range
1000001 - 9999999
Qty
Price
$216.38

Ref No
2
Part Number
18320-Z21-000ZA
Description
PROTECTOR, MUFFLER (OUTER) *NH105* (MAT BLACK)
Serial Range
1000001 - 9999999
Qty
Price
$95.43

Ref No
3
Part Number
18325-Z21-000ZA
Description
PROTECTOR, MUFFLER (INNER) *NH105* (MAT BLACK)
Serial Range
1000001 - 9999999
Qty
Price
$117.42

Ref No
4
Part Number
18329-Z22-000
Description
SEAL, MUFFLER PROTECTOR
Serial Range
1000001 - 9999999
Qty
Price
$20.29

Ref No
5
Part Number
18331-Z21-000
Description
PIPE, EX. (NOT AVAILABLE)
Serial Range
1000001 - 9999999

Ref No
6
Part Number
18333-ZB4-801
Description
GASKET, EX. PIPE
Serial Range
1000001 - 9999999
Qty
Price
$4.65

Ref No
7
Part Number
18333-ZE3-800
Description
GASKET, EX. PIPE
Serial Range
1000001 - 9999999

Ref No
7
Part Number
18333-ZK6-Y00
Description
GASKET, EX. PIPE
Serial Range
1022356 - 9999999
Qty
Price
$5.64

Ref No
8
Part Number
18338-ZR6-T60
Description
STAY, MUFFLER (NOT AVAILABLE)
Serial Range
1022356 - 9999999

Ref No
9
Part Number
18355-Z22-E30
Description
ARRESTER, SPARK
Serial Range
1000001 - 9999999
Qty
Price
$36.06

Ref No
10
Part Number
90002-ZE2-U91
Description
SCREW, TAPPING (4X8)
Serial Range
1000001 - 9999999
Qty
Price
$1.29

Ref No
12
Part Number
94050-08000
Description
NUT, FLANGE (8MM)
Serial Range
1000001 - 9999999

Ref No
13
Part Number
95701-06010-07
Description
BOLT, FLANGE (6X10)
Serial Range
1000001 - 9999999
Qty
Price
$2.28

Ref No
14
Part Number
95701-08016-00
Description
BOLT, FLANGE (8X16)
Serial Range
1000001 - 9999999
Qty
Price
$2.53