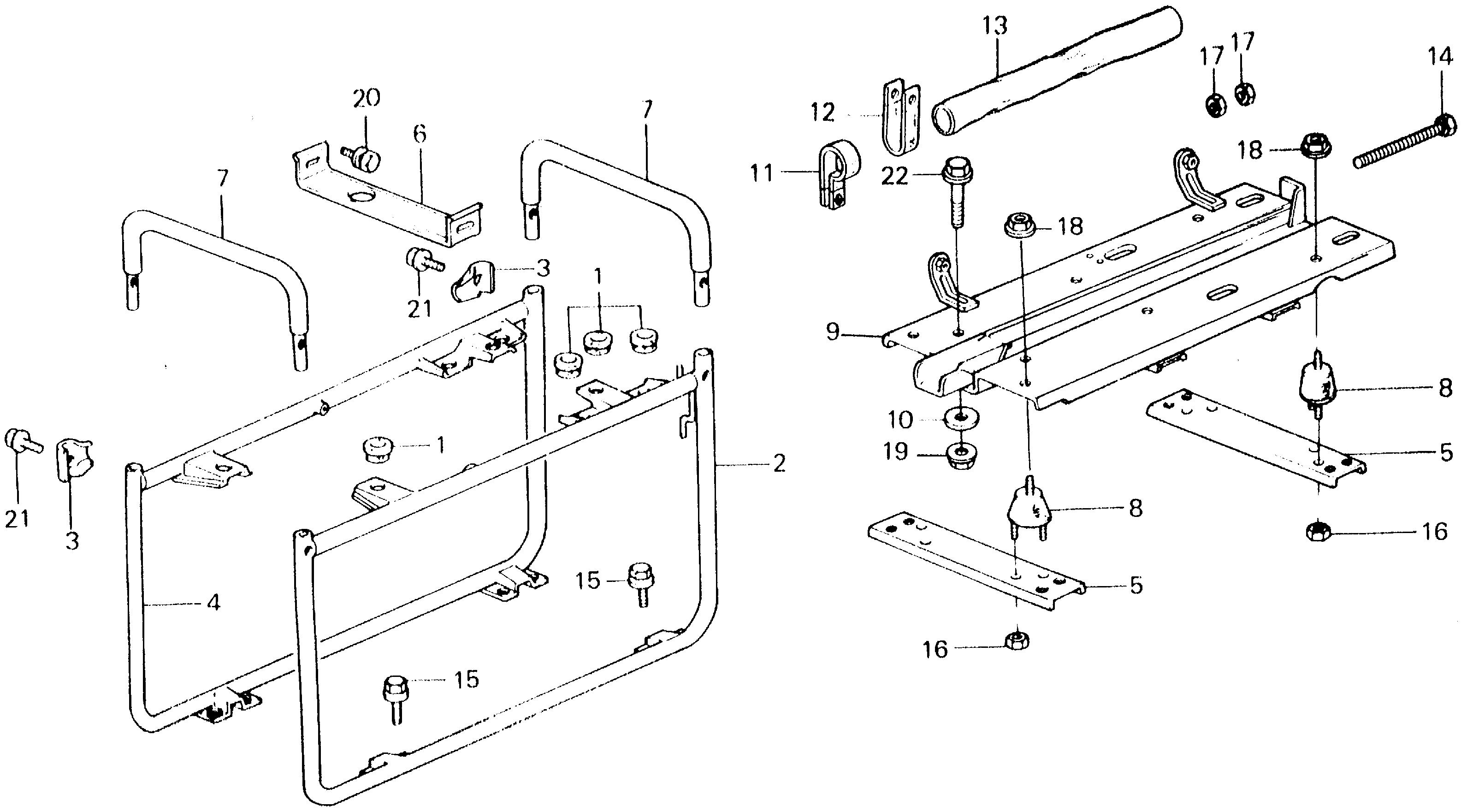
Generators ES ES3500 ES3500K1 A ES3500-1100014-1129443 FRAME@ENGINE BED - Plano Power Equipment

Ref No
Part Number
Description
Serial Range
Qty
Price

Ref No
1
Part Number
17682-817-020
Description
RUBBER, TANK CUSHION (NOT AVAILABLE)
Serial Range
1000001 - 9999999
Qty
Price
$3.93

Ref No
2
Part Number
50120-880-030
Description
FRAME, FR. PIPE
Serial Range
1000001 - 9999999

Ref No
3
Part Number
50121-880-000
Description
PLATE, JOINT
Serial Range
1000001 - 9999999

Ref No
4
Part Number
50130-880-020
Description
FRAME, RR. PIPE
Serial Range
1000001 - 9999999

Ref No
5
Part Number
50311-880-020
Description
PLATE (LOWER)
Serial Range
1000001 - 9999999

Ref No
6
Part Number
50317-880-010
Description
STOPPER, ENGINE
Serial Range
1000001 - 9999999

Ref No
7
Part Number
53120-880-000
Description
HANDLEBAR (NOT AVAILABLE)
Serial Range
1000001 - 9999999

Ref No
8
Part Number
68310-815-020
Description
RUBBER, ENGINE MOUNTING
Serial Range
1000001 - 1115028

Ref No
8
Part Number
68325-893-000
Description
RUBBER, ENGINE SETTING (NOT AVAILABLE)
Serial Range
1115029 - 9999999

Ref No
9
Part Number
68310-880-040
Description
BED, ENGINE
Serial Range
1115029 - 9999999

Ref No
10
Part Number
90501-579-020
Description
WASHER, EX. MANIFOLD
Serial Range
1000001 - 9999999
Qty
Price
$7.91

Ref No
11
Part Number
91402-880-010
Description
CLIP, WIRE (NOT AVAILABLE)
Serial Range
1000001 - 1108318

Ref No
11
Part Number
91405-890-000
Description
CLIP, CORD
Serial Range
1108319 - 9999999

Ref No
13
Part Number
91407-880-780
Description
TUBE, WIRE
Serial Range
1000001 - 9999999

Ref No
14
Part Number
92180-08080-0A
Description
BOLT, HEX. (8X80)
Serial Range
1000001 - 9999999
Qty
Price
$3.68

Ref No
15
Part Number
93401-08016-00
Description
BOLT-WASHER (8X16)
Serial Range
1000001 - 9999999
Qty
Price
$2.69

Ref No
16
Part Number
94001-06000-0S
Description
NUT, HEX. (6MM)
Serial Range
1000001 - 9999999

Ref No
16
Part Number
94001-06200-0S
Description
NUT, HEX. (6MM)
Serial Range
1000001 - 9999999
Qty
Price
$1.84

Ref No
17
Part Number
94001-08000-0S
Description
NUT, HEX. (8MM)
Serial Range
1000001 - 9999999
Qty
Price
$1.84

Ref No
18
Part Number
94050-08000
Description
NUT, FLANGE (8MM)
Serial Range
1000001 - 9999999

Ref No
19
Part Number
94050-10000
Description
NUT, FLANGE (10MM)
Serial Range
1000001 - 9999999

Ref No
20
Part Number
95701-06012-08
Description
BOLT, FLANGE (6X12)
Serial Range
1000001 - 9999999
Qty
Price
$2.35

Ref No
21
Part Number
95700-08016-00
Description
BOLT, FLANGE (8X16)
Serial Range
1000001 - 9999999

Ref No
21
Part Number
95701-08016-00
Description
BOLT, FLANGE (8X16)
Serial Range
1000001 - 9999999
Qty
Price
$2.53

Ref No
22
Part Number
95701-10050-00
Description
BOLT, FLANGE (10X50)
Serial Range
1000001 - 9999999
Qty
Price
$3.93