Description RING SET, PISTON (0.50) (TPR) (NOT AVAILABLE)
Serial Range 1000001 - 9999999
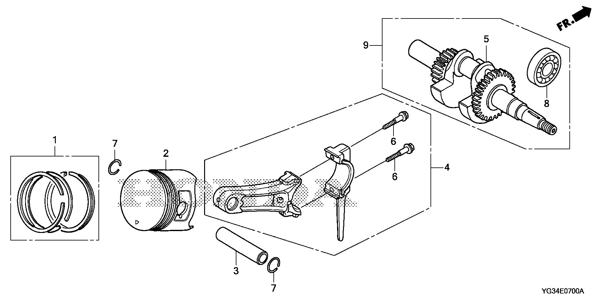
Ref No 2
Part Number 13101-Z4M-801
Description PISTON (STD)
Serial Range 2799812 - 9999999
Qty
Price $19.96
Ref No 2
Part Number 13102-Z4M-801
Description PISTON (0.25) (NOT AVAILABLE)
Serial Range 1000001 - 9999999
Ref No 2
Part Number 13103-Z4M-801
Description PISTON (0.50) (NOT AVAILABLE)
Serial Range 1000001 - 9999999
Ref No 3
Part Number 13111-Z4M-000
Description PIN, PISTON
Serial Range 1000001 - 9999999
Qty
Price $25.51
Ref No 3
Part Number 13111-ZDK-003
Description PIN, PISTON
Serial Range 3287083 - 9999999
Qty
Price $10.95
Ref No 4
Part Number 13200-Z0T-306
Description ROD ASSY., CONNECTING (UNDER SIZE) (NOT AVAILABLE)
Serial Range 1000001 - 9999999
Ref No 4
Part Number 13200-Z0T-900
Description ROD ASSY., CONNECTING
Serial Range 1000001 - 9999999
Qty
Price $17.32
Ref No 6
Part Number 90001-Z4M-000
Description BOLT, CONNECTING ROD (6X34.5)
Serial Range 1000001 - 9999999
Qty
Price $5.41
Ref No 7
Part Number 90551-ZE1-000
Description CLIP, PISTON PIN (18MM)
Serial Range 1000001 - 9999999
Qty
Price $1.56
Ref No 8
Part Number 91001-Z4X-003
Description BEARING, RADIAL BALL (6205) (NSK)
Serial Range 1000001 - 9999999
Qty
Price $14.05
Ref No 8
Part Number 91001-ZF1-003
Description BEARING, RADIAL BALL (6205TMB) (NTN)
Serial Range 1000001 - 9999999
Qty
Price $27.92
Ref No 9
Part Number 13310-Z4M-871
Description CRANKSHAFT
Serial Range 1000001 - 9999999
Qty
Price $51.44
Item added to your cart
California Prop 65 Information
Internal Combustion Engine Products:
WARNING:
This product can expose you to chemicals including soots, tars, and mineral oils, which are known to the State of California to cause cancer,
and carbon monoxide, which is known to the State of California to cause birth defects or other reproductive harm. For more information go to
www.P65Warnings.ca.gov.
Miimo Robotic Mower
WARNING:
This product can expose you to chemicals including lead and lead compounds, which are known to the State of California to cause cancer and birth defects or other reproductive harm.
For more information go to
www.P65Warnings.ca.gov.