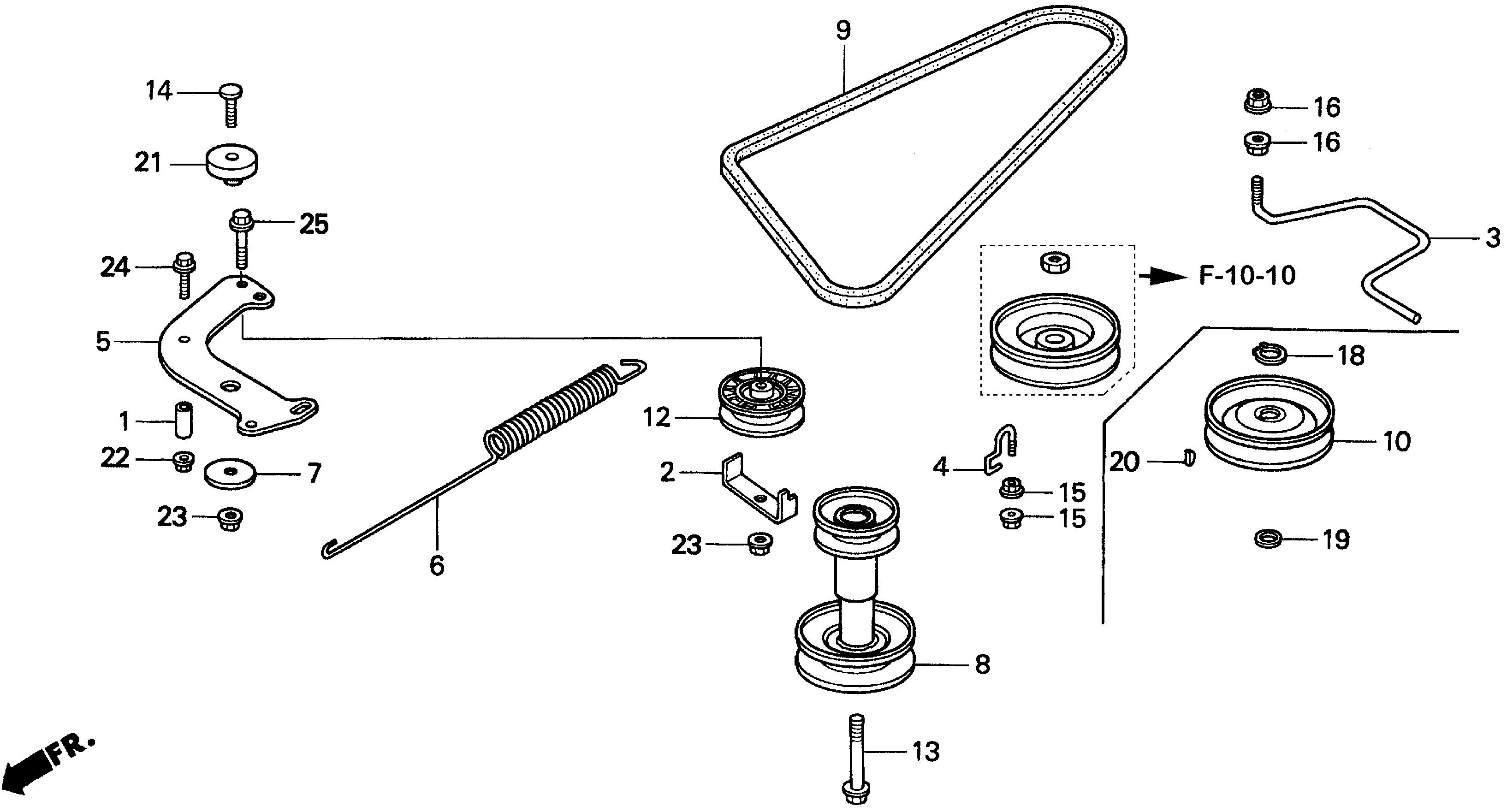
Ref No
Part Number
Description
Serial Range
Qty
Price
Ref No 1
Part Number 17238-ZE7-010
Description COLLAR, AIR CLEANER
Serial Range 1000001 - 9999999
Qty
Price $5.11
Add To Cart
Ref No 2
Part Number 22441-772-000
Description STOPPER A, BELT
Serial Range 1000001 - 9999999
Qty
Price $4.05
Add To Cart
Ref No 3
Part Number 22442-772-000
Description STOPPER B, BELT
Serial Range 1000001 - 9999999
Qty
Price $19.30
Add To Cart
Ref No 4
Part Number 22443-772-000
Description STOPPER C, BELT
Serial Range 1000001 - 9999999
Qty
Price $15.27
Add To Cart
Ref No 5
Part Number 22521-772-010
Description ARM, TENSIONER
Serial Range 1000001 - 9999999
Qty
Price $34.85
Add To Cart
Ref No 6
Part Number 22531-772-000
Description SPRING, BELT TENSIONER
Serial Range 1000001 - 9999999
Qty
Price $72.96
Add To Cart
Ref No 7
Part Number 40213-041-730
Description WASHER (42X8.5) (NOT AVAILABLE)
Serial Range 1000001 - 9999999
Ref No 8
Part Number 75170-772-010
Description PULLEY, ENGINE (NOT AVAILABLE)
Serial Range 1000001 - 9999999
Ref No 9
Part Number 76184-772-003
Description V-BELT, PRIMARY
Serial Range 1000001 - 9999999
Qty
Price $28.18
Add To Cart
Ref No 10
Part Number 76215-772-020
Description PULLEY ASSY., TRANSMISSION
Serial Range 1000001 - 9999999
Qty
Price $97.34
Add To Cart
Ref No 12
Part Number 76245-772-000
Description ROLLER, TENSION
Serial Range 1000001 - 9999999
Qty
Price $28.15
Add To Cart
Ref No 13
Part Number 90103-772-000
Description BOLT, FLANGE (7/16") (NOT AVAILABLE)
Serial Range 1000001 - 9999999
Ref No 14
Part Number 90105-750-640
Description BOLT, SPECIAL (8X37)
Serial Range 1000001 - 9999999
Qty
Price $5.87
Add To Cart
Ref No 15
Part Number 90301-634-670
Description NUT, FLANGE (6MM)
Serial Range 1000001 - 9999999
Qty
Price $15.00
Add To Cart
Ref No 16
Part Number 90302-SH3-003
Description NUT, FLANGE (8MM)
Serial Range 1000001 - 9999999
Qty
Price $0.97
Add To Cart
Ref No 18
Part Number 90653-772-000
Description CIRCLIP, EX. (5/8")
Serial Range 1000001 - 9999999
Qty
Price $0.30
Add To Cart
Ref No 19
Part Number 90655-772-013
Description RING, RETAINING
Serial Range 1000001 - 9999999
Qty
Price $1.27
Add To Cart
Ref No 20
Part Number 90761-772-003
Description KEY, WOODRUFF (#9) (NOT AVAILABLE)
Serial Range 1000001 - 9999999
Ref No 21
Part Number 91554-772-000
Description COLLAR, TENSION ARM
Serial Range 1000001 - 9999999
Ref No 22
Part Number 94050-06080
Description NUT, FLANGE (6MM)
Serial Range 1000001 - 9999999
Ref No 23
Part Number 94050-08080
Description NUT, FLANGE (8MM)
Serial Range 1000001 - 9999999
Qty
Price $1.36
Add To Cart
Ref No 24
Part Number 95701-06035-08
Description BOLT, FLANGE (6X35)
Serial Range 1000001 - 9999999
Qty
Price $2.51
Add To Cart
Ref No 25
Part Number 95701-08040-08
Description BOLT, FLANGE (8X40)
Serial Range 1000001 - 9999999
Qty
Price $3.20
Add To Cart