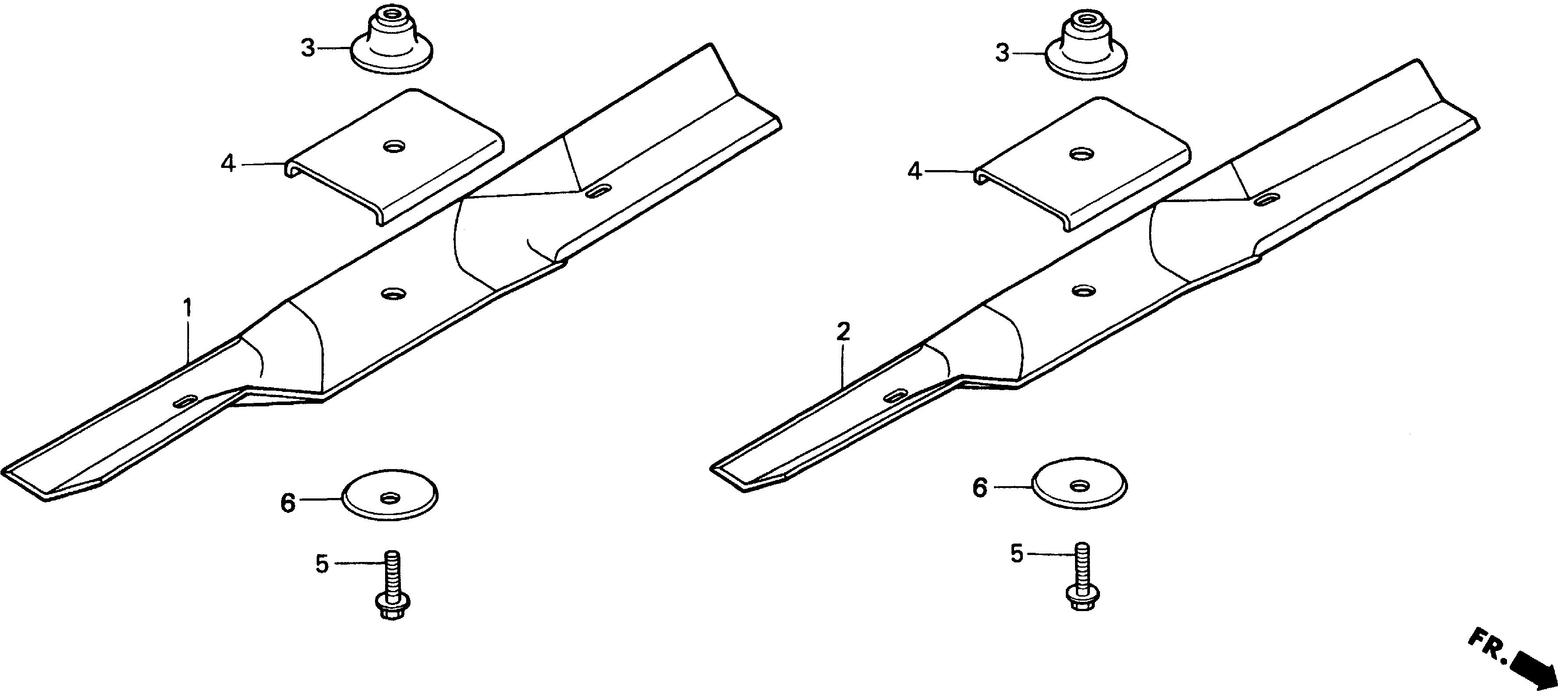
Riding Mower H H3013 H3013H HSA MZAH-6000001-9999999 13H ROTARY BLADE - Plano Power Equipment

Ref No
Part Number
Description
Serial Range
Qty
Price

Ref No
1
Part Number
72511-763-C00
Description
BLADE, R. ROTARY
Serial Range
1000001 - 9999999
Qty
Price
$91.29

Ref No
2
Part Number
72531-763-C00
Description
BLADE, L. ROTARY
Serial Range
1000001 - 9999999

Ref No
3
Part Number
72620-751-701
Description
HOLDER, BLADE
Serial Range
1000001 - 9999999
Qty
Price
$54.96

Ref No
4
Part Number
72625-751-700
Description
HOLDER, BLADE (B)
Serial Range
1000001 - 9999999
Qty
Price
$26.84

Ref No
5
Part Number
90105-751-701
Description
BOLT, BLADE HOLDER (10X28)
Serial Range
1000001 - 9999999
Qty
Price
$5.57

Ref No
6
Part Number
90510-751-701
Description
WASHER, BLADE
Serial Range
1000001 - 9999999
Qty
Price
$25.71