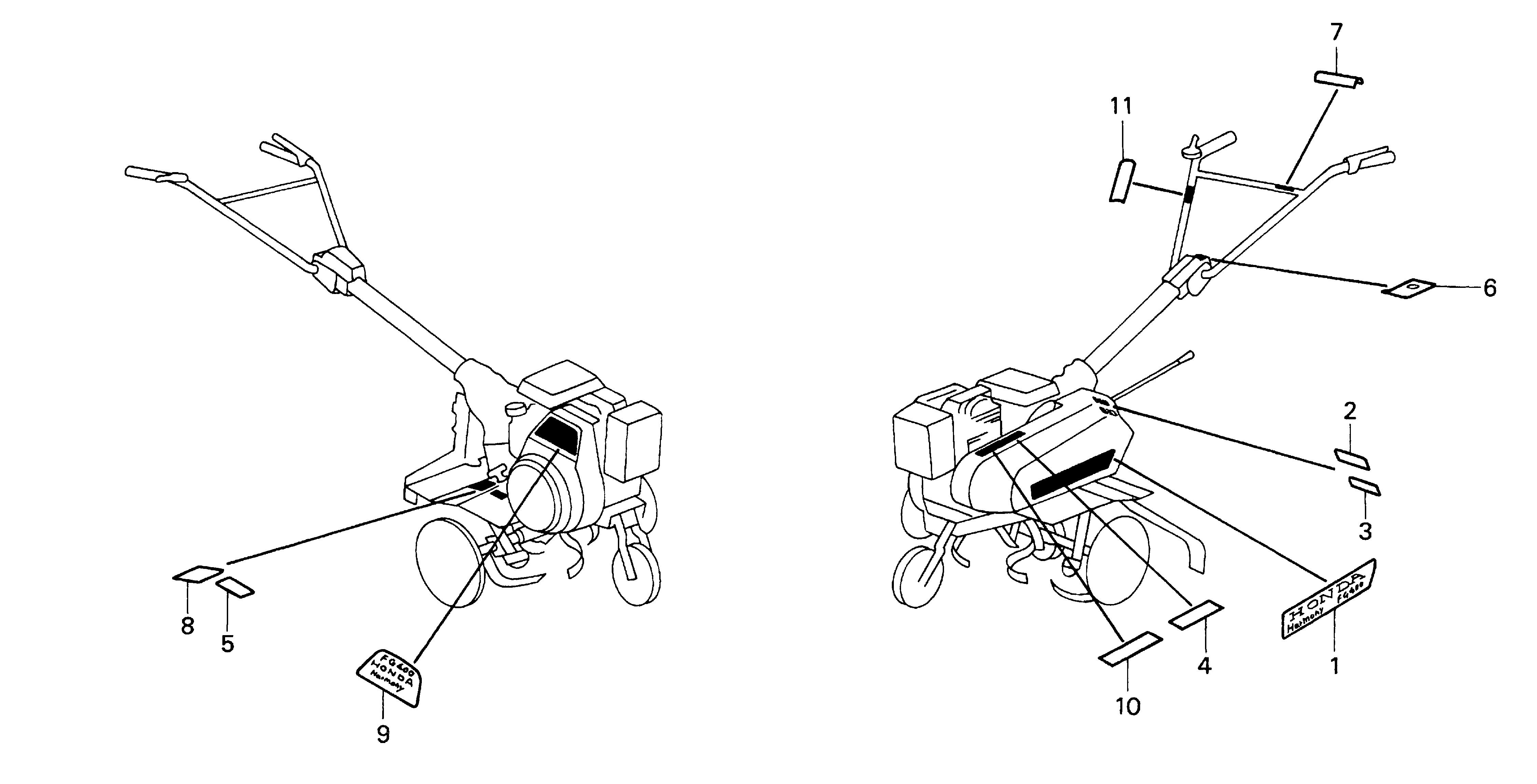
Tillers FG FG500 FG500 A2 FZCY-1000001-9999999 LABELS (FRAME) - Plano Power Equipment

Ref No
Part Number
Description
Serial Range
Qty
Price

Ref No
1
Part Number
87101-V08-720
Description
EMBLEM (FG500/HARMONY) (NOT AVAILABLE)
Serial Range
1000001 - 1012404

Ref No
2
Part Number
87111-V08-830
Description
MARK, CHANGE (A) (NOT AVAILABLE)
Serial Range
1000001 - 9999999

Ref No
3
Part Number
87112-V08-830
Description
MARK, CHANGE (B) (NOT AVAILABLE)
Serial Range
1000001 - 9999999

Ref No
4
Part Number
87311-770-880
Description
LABEL, BELT WARNING (ENGLISH)
Serial Range
1000001 - 9999999
Qty
Price
$7.59

Ref No
5
Part Number
87406-733-E80
Description
LABEL, TINE DANGER
Serial Range
1000001 - 9999999
Qty
Price
$9.20

Ref No
6
Part Number
87501-733-E80
Description
MARK, ENGINE SWITCH (ENGLISH)
Serial Range
1000001 - 9999999
Qty
Price
$11.29

Ref No
7
Part Number
87512-V08-620
Description
MARK, MAIN CLUTCH INDICATION (NOT AVAILABLE)
Serial Range
1000001 - 9999999

Ref No
8
Part Number
87516-V06-000
Description
LABEL, OPERATOR WARNING (ENGLISH)
Serial Range
1000001 - 9999999
Qty
Price
$19.50

Ref No
9
Part Number
87521-V08-720
Description
EMBLEM (FG500/HARMONY)
Serial Range
1000001 - 1012404

Ref No
10
Part Number
87539-770-880
Description
LABEL, HEAT WARNING (ENGLISH)
Serial Range
1000001 - 9999999
Qty
Price
$7.59

Ref No
11
Part Number
87643-V06-000
Description
MARK, HOLD POSITION
Serial Range
1000001 - 9999999
Qty
Price
$7.27